驱动中国2017年5月2日消息 前段时间,三星Galaxy Note8的渲染图照片曝光,延续三星Galaxy Note系列硬朗的设计风格,首次搭载双摄像头。毫无疑问,三星Galaxy Note8的最重要的升级就是双摄像头方案板上钉钉。三星为了Galaxy Note 8寻找新的卖点,新增双摄无疑是一个绝佳的主意。

其实双摄对于三星在拍照方面只是锦上添花,但这显然不符合三星的风格。目前种种迹象表明,三星Galaxy Note8采用双摄技术,不仅仅是为了提升拍照效果,还将为带来新的拍照方式。

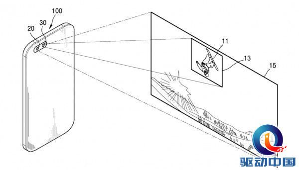
此前,三星申请了一项双影像传感器,三星采用的双摄像头解决方案与目前的主流双摄像头方案有所不同,其中一颗摄像头负责追踪运动物体(动态),另一颗广角摄像头负责拍摄画面基本信息(静态)。从3D技术而言,三星的双摄技术可以与3D拍照进行绝佳的配合。
另外,根据业内人士消息,三星正在与国内某公司共同研发3D显示设备,三星Galaxy Note 8的发布时机似乎刚刚符合这一切要素。种种迹象表明,三星Note 8的双摄最有可能会与3D拍照有关。

除此之外,Galaxy Note8还将用上评下隐藏式指纹技术,同时苹果公司也申请了3D显示技术,苹果和三星纷纷瞄准3D显示屏技术,让人不得不猜测Galaxy Note8和下一代iPhone8会不会支持3D显示。
随着裸眼3D技术的不断成熟,裸眼3D手机成为苹果以及三星等手机厂商的有力争夺点。而国产厂商也在不断为此而努力。最近发布的裸眼3D手机ivvi K5,就是国产裸眼3D手机的佼佼者。

ivvi依托超多维多年深厚的3D显示技术,成为了国产裸眼3D手机的领航者。而ivvi K5采用了业界最新的柱状光栅技术,特制的裸眼3D屏幕亮度高、更立体、更清晰。同时ivvi K5还搭载了一颗独一无二的人眼追踪摄像头。最后ivvi K5为手机加入了一颗“独立显卡”,用来专门处理裸眼3D图像显示,提升3D/VR渲染速度并整合3D/VR的运算。
这么看来在3D显示技术手机应用中,ivvi K5已经走在了三星Galaxy Note8的前面,不可置疑的是,裸眼3D技术已经成为下一个智能手机发展的下一个风向口。
评论 {{userinfo.comments}}
{{child.content}}



{{question.question}}
提交