行业首款性能Ultra iQOO 15 Ultra正式亮相,到手价4999元起
2026-02-04
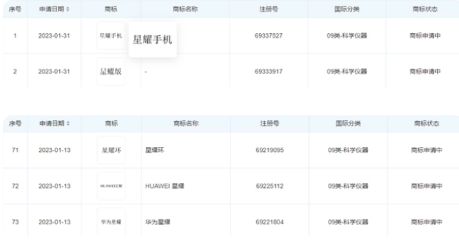
驱动中国2023年2月9日消息,近日,华为技术有限公司请了注册“星耀手机”“星耀版”商标,国际分类为科学仪器,当前商标状态为申请中。

不久前,华为还申请注册“星耀环”“华为星耀”等商标,目前状态均为申请中。不过,华为新商标是否与新品有关还不得而知。
值得一提的是,早在2022年7月便发布了华为 nova 10 Pro,设计融合了金色星耀环、星耀标,以及此前发布的华为 nova 3、nova 4、nova 5 Pro还有星耀版。
评论 {{userinfo.comments}}
{{child.content}}



{{question.question}}
提交